In modern people's lives, advertising is almost everywhere. When social networks flourished, advertisements have evolved to the point where sometimes they don't even want to see them. Users have to force click on the advertisements, or wait for a certain period of time for the advertisements to play before they can continue to use a certain service. Recently, X netizens have been discussing that the world might have been filled with more exaggerated and annoying advertising models, but thanks to a patent in the hands of Japan's SONY company, advertising has been prevented from deteriorating! ? Let’s take a look at the reasons why netizens say this.
"SONY holds a patent that has been registered since 2009, but has never used it."
The meme picture above recently triggered an enthusiastic response on X with more than 200,000 likes!
According to this picture, Japan's SONY company is like a dam, blocking a terrible torrent for society. The weapon in the hands of SONY is a patent registered in the United States in 2009...
Patent US8246454B2: Convert TV advertisements into interactive online video game systems
This patent held by SONY is simply an interactive advertisement that combines the concepts of "advertising" and "video games".
Take TV programs as an example. When TV promotes this new type of advertisement, the audience must complete a certain task prompted by the advertisement by operating the remote control, dancing or voice control, etc., in order to skip the advertisement or Accelerate advertising.
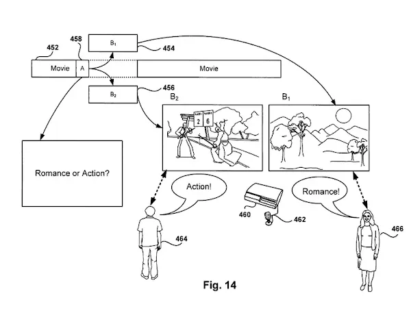
Here are some illustrations of interactive ads from the patent document…
Interactive advertising that turns into a racing game
A fast food restaurant advertisement that requires placing pickles inside a hamburger to speed up the process
The interactive advertising model that netizens find most exaggerated is the following one...
When you're watching a TV show...
The TV suddenly changed to a picture of a hamburger and prompted "Please shout "McDonald's" to end the commercial."
Then you have to shout, "McDonald's!"
Then you can continue watching the program
After this patent held by SONY was dug out by netizens, many people praised SONY for registering these interactive ads first, otherwise the world may be filled with all kinds of annoying interactive ads. ah!
The following are more schematic diagrams of "interactive advertising" included in SONY patent documents...
Advertising for fusion shooters
You can directly choose whether to order pizza ads
Ads that allow viewers to vote and instantly display voting results
Allows viewers to freely choose to show ads of the same length but different types
If advertisers play like this, won't everyone yell at the TV or mobile phone?












